honda305.com Forum

Vintage Honda Owners, Restorers, Riders and Admirers

Latest Registry Entry
1965 Honda CP77 — Ulsan Metro City, Rep. Korea
Restored with original parts — Owner: J. Doe

Stiff Clutch

Clutch, Transmission, Drive Chain, Sprockets
User avatar
Snakeoil
honda305.com Member
Posts: 1150
Joined: Wed Aug 04, 2010 6:45 pm
Location: Upstate NY

Post by Snakeoil » Sat Feb 26, 2011 6:58 pm

GeorgeP1111 wrote:
56_oval wrote:I don't think the cable is long enough, but it's the same one they sell on olypen.com. 34.75 inches.
FWIW: Last year I bought a Throttle cable for my CA77 from them and the cable housing was 1/4" longer than the one that was currently in use, but the inner "Pull" cable was the same length. End result was that the carb slide was held up (unable to bottom out) even with all adjustments set to mininum.

George
You took the words right outta my mouth, George. Just because the cable is the correct length does not mean it will work right. The relationship between the housing length and the cable length is key. You could buy a cable that was a mile long for this bike and the difference between the cable length and the housing length would be the same as for a stock cable.

Do you still have your original cable? If so, run the cable thru until the slug stops it from going thru the cable. Then measure the freel end of cable sticking out the other end of the housing. Now do the same with your new cable and compare. That measurement should be the same. If your new cable is shorter, there's your problem.

Hope this helps,
regards,
Rob

56_oval
honda305.com Member
Posts: 277
Joined: Sun Oct 24, 2010 2:37 am
Location: Dallas, TX

Post by 56_oval » Sat Feb 26, 2011 7:20 pm

I figured it out. I'm using Tomaselli Matador levers and they are longer than the stock ones making the cable too short. I took the cable off and took it to a local motorcycle shop and they put in a new longer inner in.
Now the lever is easier to pull, but there is another issue.
Is the clutch supposed to drag all the time? I was trying to adjust it and just when I though all was well, the kickstart wont work. It slips. That means the clutch is too open even without the lever being pulled. Now when I adjust it to where the kicker works, she dies when I put her in gear.
Any suggestions? Do I need to take the clutch back out or will this go away with time? I inspected the clutch for bent plates and all when I had the engine apart. Everything seemed fine, but I could have missed something considering I've never seen a Honda clutch like that.

User avatar
Snakeoil
honda305.com Member
Posts: 1150
Joined: Wed Aug 04, 2010 6:45 pm
Location: Upstate NY

Post by Snakeoil » Sat Feb 26, 2011 7:59 pm

It could be those levers. If the levers do not pull the clutch far enough, it will not disengage properly. You cannot just put any set of levers on any bike. You have to be sure that the cable pull is the same for the new levers and the stock levers.

My guess is your new levers have the hole for the cable slug much closer to the pivot hole than your OEM levers. This means that the ratio between the pull travel of the lever and the pull on the cable is higher, making for a much easier clutch lever pull, but also a cable that does not move as far.

If this is the case, you have three options. First and most obvious is find a set of levers that matches the cable pull of your OEM levers. The second is weld up your levers and drill a new hole for the cable end that will give you the correct cable pull for the given lever pull. Third is drill a new hole in the clutch release arm so that you restore the OEM amount of rotation to give you full engagement and diesengagement.

I don't have enough experience with these engines to know if the release mechanism itself, namely the mating spirals, can wear to the point that the travel is diminished. I would think that regardless of wear, the pitch of the spiral would stay the same and you would maintain the same amount of in and out movement for a given number of degrees of rotation. But maybe not. Maybe they wear into each other enough that the pitch is reduced.

Someone like LM might be able to talk to that point.

regards,
Rob

56_oval
honda305.com Member
Posts: 277
Joined: Sun Oct 24, 2010 2:37 am
Location: Dallas, TX

Post by 56_oval » Sun Feb 27, 2011 1:50 am

I'd like to know what the measurement is between the cable end and the sheath end when fully open. Let me know if anyone has that info.

User avatar
Snakeoil
honda305.com Member
Posts: 1150
Joined: Wed Aug 04, 2010 6:45 pm
Location: Upstate NY

Post by Snakeoil » Sun Feb 27, 2011 11:50 am

I believe what you are asking is how far does the cable travel from fully engaged to fully disengaged at the clutch lever. That is the key to the solution.

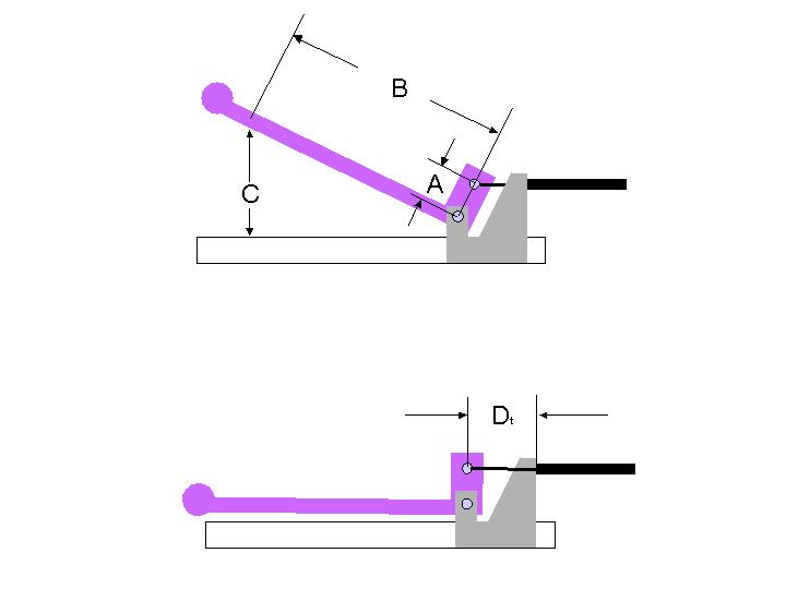
To understand what is going on, you really need to know is what is the distance from the pivot hole to the cable slug hole on OEM levers AND, what is the travel distance of the lever at a given distance from the pivot hole in addition to the cable travel distance above.

So, I went out and measured all this on my '67 CL and have provided it here in a diagram for you. Dimension B is arbitrarily selected due to the curvature of the lever. In this case, it is the point on the lever that touches the bar when the clutch is fully disengaged. You do need to maintain that same dimension if you are comparing another lever to an OEM lever, even it it does not touch the bar at that point. It is still the point where you measure lever travel.

The following measurements are taken with a lever free play set at 15mm.

A = 30mm
B = 130mm
C = 80mm
Dt = 17mm*

* - Note that Dt is the distance the cable traveled thru 80mm of lever travel, NOT the length of the free end of the cable protruding from cable sheath with the lever against the bar.
Attachments
Lever Ratio.jpg

User avatar
brewsky
honda305.com Member
Posts: 1816
Joined: Wed Jul 23, 2008 5:21 am
Location: Princeton, WV

Post by brewsky » Sun Feb 27, 2011 2:28 pm

I only have about 1/2" travel (Dt dimension in Snakeoils diagram) on my CA, but it is enough to free the clutch.

Mine is also limited by having thicker than OEM grips and a slightly flattened lever.
66 dream, 78 cb750k, 02fz1, 09 wing

LOUD MOUSE
honda305.com Member
Posts: 7818
Joined: Mon Aug 15, 2005 8:23 am
Location: KERRVILLE, TEXAS

Post by LOUD MOUSE » Sun Feb 27, 2011 3:15 pm

The little Green HONDA 300 SCRAMBLER OWNERS MANUAL shows 0.8 to 1.0 inch of play at the Ball End before ya pull the cable. ....lm

56_oval wrote:I'd like to know what the measurement is between the cable end and the sheath end when fully open. Let me know if anyone has that info.

Post Reply